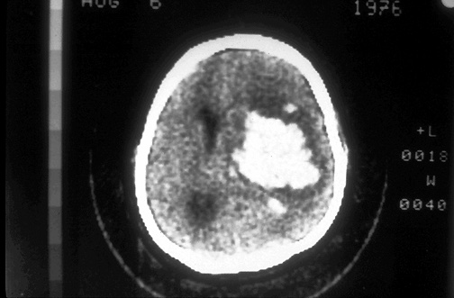
Click on the intracerebral hemorrhage in the CT scan below:

This computed tomographic (CT) scan of the head in transverse view demonstrates an area of hemorrhage in a patient with a history of hypertension.